18937332186
立足用户需求,聚焦技术创新

软著知识产权2年
核心专利6项
远销东南亚国家
研发与生产基地
发现新技术
泰航节能专业制作康斯迪水冷料槽, Consteel水冷槽,康斯迪水平加料水冷槽 水冷输送料槽,预热段水冷槽/预热料槽,小车水冷料槽…
泰航节能专业研发全氧烤包器、全氧钢包烘烤器、纯氧烤包器、全氧燃烧烤包器- 全氧中间包烘烤器、卧式全氧烤包器、立式全氧烤…
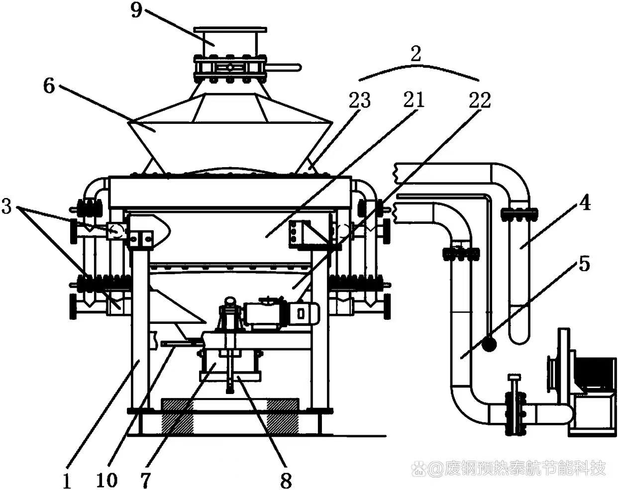
水平加料电炉加料水冷料槽(固定料槽/活动料槽(舌头)) 泰航节能水平加料小车水冷槽是康斯迪电炉连续加料系统的核心承载输…
钢包烘烤系统全氧改造技术经济分析——广西某钢厂200吨烤包器节能升级方案#### 一、现状与改造动因广西某钢厂200吨钢包烤包…
公司获得的专利证书及荣誉称号。

常年优质配件快速供应

72小时直达现场相应

24小时热线免费服务

产品质量施行三包